Топ-100

Присоединяйтесь к нашей группе в телеграмме

Корзина 0 Товар - 0,00 €

 x 

Корзина пуста

НАКЛАДНОЙ ОТВОД ВРЕЗКИ

9024000007
Бесплатная доставка Возможность доставки по всей России
Поставляем оборудование и запчасти Устанавливаем его, запускаем и обслуживаем
Подготовка воздуха,трубопровод алюминиевый для сжатого воздуха
Aignep
Артикул: 9024000007

ПОД ЗАКАЗ!:


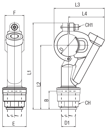
D 50

D1 20

B 31,5

E 34,5

F 42,5

L1 167,5

L2 118,5

L3 105,5

L4 74

CH 30

CH1 6

Упак. два

Информация