Топ-100

Присоединяйтесь к нашей группе в телеграмме

Корзина 0 Товар - 0,00 €

 x 

Корзина пуста

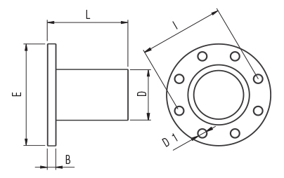
АДАПТЕР ФЛАНЦЕВЫЙ ANSI 150-LB

9001800008
Бесплатная доставка Возможность доставки по всей России
Поставляем оборудование и запчасти Устанавливаем его, запускаем и обслуживаем
Подготовка воздуха,трубопровод алюминиевый для сжатого воздуха
Aignep
Артикул: 9001800008

ПОД ЗАКАЗ!:


Соединительная поверхность фланца в соответствии со стандартом ANSI 150-LB (Фланец из алюминиевого сплава).

 D 110

B 20

E 228,5

183,5

D1 19 I 190,5

Уп. 1

Информация